Tank cleaning equipment

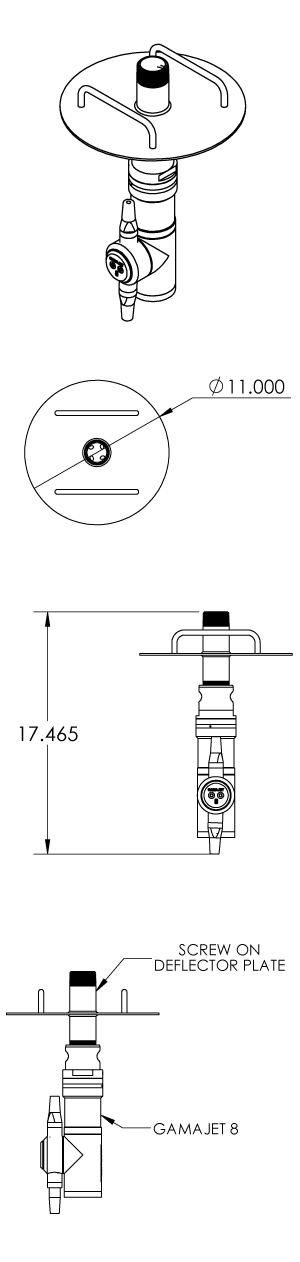
Deflector Plate

Avoid wasteful splashing and hazardous leakage

Purpose: To prevent contaminated water from splashing up when cleaning wetwells and lift stations.

Industries used in: Municipal   

Compatible Gamajets: GJ 8

How it Works: 

The deflector plate is threaded directly onto the Gamajet 8. Your hose is then threaded onto the top of the Gamajet and is ready to be lowered. The deflector plate will keep water from splashing out of the top of wetwell and or lift stations while allowing the Gamajet to remain self balancing. 

 
Specifications:

  • Materials: 316L Stainless Steel
  • Width: 11"
  • Weight: 6lbs
  • Inlet Connections: 2" NPT-Male

 

Deflector Plate

Request a quote

Contact our experts to request a quote or discuss your tank cleaning solution.